aaaaaa

 

 

 

 

 

 

Bocchetta in Ottone H 16 X 92 mm F. Gran. Med. Pic. Anticato
10-0609
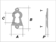
MISURE TECNICHE:
A=16-B=42
C=18-P= 2
Bocchetta in Ottone H 16 X 92 mm F. Gran. Med. Pic. Anticato
100 PZ
Anticato


Navigazione:
vai alla categoria Maniglie, Pomoli, Pendenti, Bocchette, Chiavi, Fregi in Ottone e Acciaio, e Accessori
Torna alla pagina dei prodotti

Boccino snc

di Guerri Anna Maria & C

Zona Artigiana - Via Piave 67,71

53048 - Sinalunga - Siena

Tel. 0577 67 98 65

 
©Boccino - Tutti i diritti riservati, è vietata la riproduzione anche parziale di tutto il materiale presente sul sito