aaaaaa

 

 

 

 

 

 

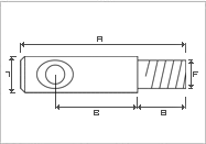
Tirante Ø 7 X 36 int. 18.5 mm Fil. M6 in Acciaio Zincato
02-0005
MISURE TECNICHE:
F=M6 - A=36 - 46 - B=18.5 - 20 -28.5 - 30 mm
ALTRI CODICI DISPONIBILI:
COD. 02-0425 Ø 7 X 36 int. 20 Fil. M6 Zincato
COD. 02-0015 Ø 7 X 46 int. 28.5 Fil. M6 Zincato
COD. 02-0431 Ø 7 X 46 int. 30 Fil. M6 Zincato
2000


Navigazione:
vai alla categoria Montaggio System, Eccentrici
Torna alla pagina dei prodotti

Boccino snc

di Guerri Anna Maria & C

Zona Artigiana - Via Piave 67,71

53048 - Sinalunga - Siena

Tel. 0577 67 98 65

 
©Boccino - Tutti i diritti riservati, è vietata la riproduzione anche parziale di tutto il materiale presente sul sito